Back to Resume |
|
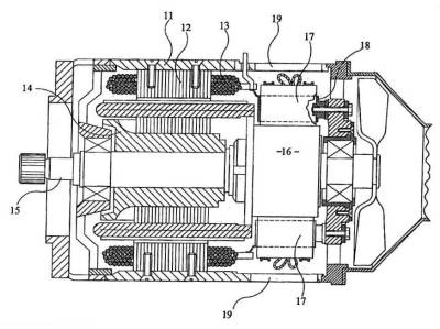
Aerospace Starter-Generator with extended overhaul period The starter-generator (S-G) in this case was for the APU of a commuter jet. The S-G was an air-cooled high-speed DC machine with four sets of brushes (No. 17 in the patent illustration at right). The time-between-overhauls (TBO) was limited by the life of the brushes. The customer wanted to increase the TBO by about 50%, so we explored several potential upgrades. Any upgrade, to be commercially viable, had to be implemented with minimal cost, since there were already thousands of these machines in the field. Then one day an associate brought up the idea of lengthening the brushes while keeping them in the same basic machine. |
| |
|
After my associate's brainstorm, it fell to me to work out the details. During this process I got familiar with 3D modeling via SDRC Ideas; this greatly helped with visualizing and selling the new design. The longer brushes needed to fit into an existing housing and required new brush-boxes & springs, meanwhile the S-G assembly process had to remain relatively unchanged. I ended up with a constant force spring (looks like a coil of shim stock) which pressed on the tapered end of the brush, and could be installed through the access ports after the brush was in place. After installation, the tops of the brushes and springs projected out of the ports, so the protective cover was redesigned with bumpouts. The upgraded S-G had to go through the re-qualification process, the most challenging part being the vibration test (10-2000 Hz, up to 20g's), which it passed. The design is documented in U.S. patent 6,724,123, assigned to Goodrich Corporation. |
Back to Resume |